Page top

T20 Pendant

示教器

T20 Pendant

出色的可操作性和人体工学设计

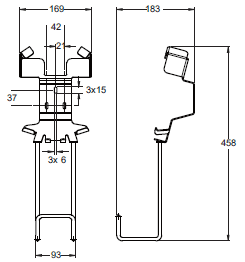
(单位:mm)

T20 Pendant

T20 Pendant 外形尺寸 1

墙装支架尺寸 - 选件

T20 Pendant 外形尺寸 2

连接到SmartController

T20 Pendant 外形尺寸 3

面板和前面板安装

T20 Pendant 外形尺寸 4