Page top

E5CSL / E5CWL / E5EWL

温控器

E5CSL / E5CWL / E5EWL

简单的新型温控器,轻松实现温度 控制

(单位:mm)

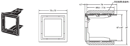
E5CSL/E5CWL

E5CSL / E5CWL / E5EWL 外形尺寸 1

面板切割尺寸

E5CSL / E5CWL / E5EWL 外形尺寸 2

推荐的面板厚度为1~5mm。
垂直方向上不可进行成组安装(在温控器间保持规定的安装间隔)。
当安装了两个或两个以上的控制器时,请确保周围的温度不超过规格中规定的使用环境温度。

E5EWL

E5CSL / E5CWL / E5EWL 外形尺寸 3

面板切割尺寸

E5CSL / E5CWL / E5EWL 外形尺寸 4

推荐的面板厚度为1~5mm。
垂直方向上不可进行成组安装(在温控器间保持规定的安装间隔)。
当安装了两个或两个以上的控制器时,请确保周围的温度不超过规格中规定的使用环境温度。

端子盖

E53-COV19

E5CSL / E5CWL / E5EWL 外形尺寸 6

注:不可使用E53-COV10。

前面板(用于E5CSL/E5CWL)

E53-COV20

E5CSL / E5CWL / E5EWL 外形尺寸 8

注1.安装Y92A-48B或Y92A-48D时需要该前面板。
 2. 该前面板仅为框架,不含塑料盖板。

适配器(用于E5CSL/E5CWL)

注1. 当前面板开孔尺寸为E5B□时,请使用该适配器。
 2. 仅备有黑色规格。

Y92F-45

E5CSL / E5CWL / E5EWL 外形尺寸 10

安装到E5CWL

E5CSL / E5CWL / E5EWL 外形尺寸 11